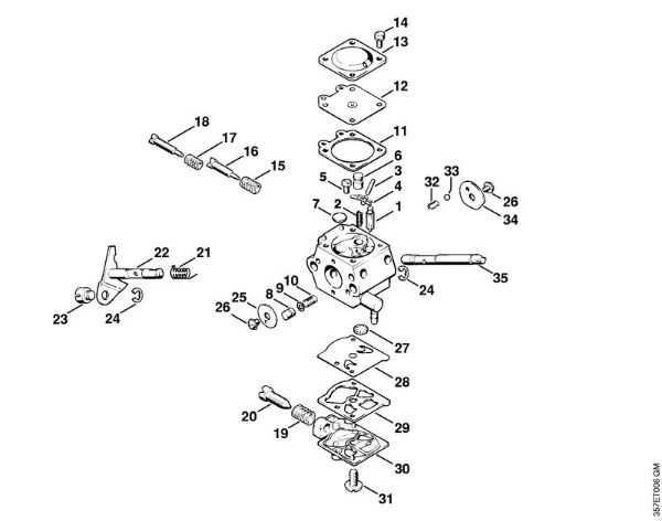
Carburetor WT-45 FS 88Carburetor WT-45 Brushcutters (FS) FS 88 StihlManufacturer: STIHL Email a friendWhen ordering original spare parts for your product Brushcutters (FS) FS 88 of Stihl, to allow our staff to send you the correct spare parts,enter the year of the machine and, if available, its serial number in the Miscellaneous Notes field on the final page of the cart.Carburetor WT-45AOriginal spare parts Carburetor WT-45A Brushcutters (FS) FS 88 Stihl Included from nr. 1 to 35 €100.34 incl tax Qty: Add to cart1 Inlet needleOriginal spare parts Inlet needle Brushcutters (FS) FS 88 Stihl €20.77 incl tax Qty: Add to cart2 SpringOriginal spare parts Spring Brushcutters (FS) FS 88 Stihl €6.88 incl tax Qty: Add to cart3 SpindleOriginal spare parts Spindle Brushcutters (FS) FS 88 Stihl €3.81 incl tax Qty: Add to cart4 Inlet control leverOriginal spare parts Inlet control lever Brushcutters (FS) FS 88 Stihl €9.27 incl tax Qty: Add to cart5 Round head screwOriginal spare parts Round head screw Brushcutters (FS) FS 88 Stihl €3.81 incl tax Qty: Add to cart6 Valve jetOriginal spare parts Valve jet Brushcutters (FS) FS 88 Stihl €16.38 incl tax Qty: Add to cart7 PlugOriginal spare parts Plug Brushcutters (FS) FS 88 Stihl €7.66 incl tax Qty: Add to cart8 Pump pistonOriginal spare parts Pump piston Brushcutters (FS) FS 88 Stihl €28.61 incl tax Qty: Add to cart9 Sealing ringOriginal spare parts Sealing ring Brushcutters (FS) FS 88 Stihl €10.43 incl tax Qty: Add to cart11 GasketOriginal spare parts Gasket Brushcutters (FS) FS 88 Stihl €6.10 incl tax Qty: Add to cart12 Metering diaphragmOriginal spare parts Metering diaphragm Brushcutters (FS) FS 88 Stihl €27.21 incl tax Qty: Add to cart13 End coverOriginal spare parts End cover Brushcutters (FS) FS 88 Stihl €18.43 incl tax Qty: Add to cart14 Round head screwOriginal spare parts Round head screw Brushcutters (FS) FS 88 Stihl €15.13 incl tax Qty: Add to cart15 SpringOriginal spare parts Spring Brushcutters (FS) FS 88 Stihl €6.88 incl tax Qty: Add to cart17 SpringOriginal spare parts Spring Brushcutters (FS) FS 88 Stihl €6.88 incl tax Qty: Add to cart19 SpringOriginal spare parts Spring Brushcutters (FS) FS 88 Stihl €6.88 incl tax Qty: Add to cart20 Idle speed screwOriginal spare parts Idle speed screw Brushcutters (FS) FS 88 Stihl €19.67 incl tax Qty: Add to cart24 E-clipOriginal spare parts E-clip Brushcutters (FS) FS 88 Stihl €6.49 incl tax Qty: Add to cart25 Throttle shutterOriginal spare parts Throttle shutter Brushcutters (FS) FS 88 Stihl €11.96 incl tax Qty: Add to cart26 Round head screwOriginal spare parts Round head screw Brushcutters (FS) FS 88 Stihl €8.30 incl tax Qty: Add to cart27 StrainerOriginal spare parts Strainer Brushcutters (FS) FS 88 Stihl €9.03 incl tax Qty: Add to cart28 Pump diaphragmOriginal spare parts Pump diaphragm Brushcutters (FS) FS 88 Stihl €27.21 incl tax Qty: Add to cart29 GasketOriginal spare parts Gasket Brushcutters (FS) FS 88 Stihl €6.10 incl tax Qty: Add to cartSet of carburetor partsOriginal spare parts Set of carburetor parts Brushcutters (FS) FS 88 Stihl Included nr. 1, 2, 7, 9, 11, 12, 27 a 29 €55.08 incl tax Qty: Add to cart
Carburetor WT-45AOriginal spare parts Carburetor WT-45A Brushcutters (FS) FS 88 Stihl Included from nr. 1 to 35 €100.34 incl tax Qty: Add to cart
1 Inlet needleOriginal spare parts Inlet needle Brushcutters (FS) FS 88 Stihl €20.77 incl tax Qty: Add to cart
4 Inlet control leverOriginal spare parts Inlet control lever Brushcutters (FS) FS 88 Stihl €9.27 incl tax Qty: Add to cart
5 Round head screwOriginal spare parts Round head screw Brushcutters (FS) FS 88 Stihl €3.81 incl tax Qty: Add to cart
6 Valve jetOriginal spare parts Valve jet Brushcutters (FS) FS 88 Stihl €16.38 incl tax Qty: Add to cart
8 Pump pistonOriginal spare parts Pump piston Brushcutters (FS) FS 88 Stihl €28.61 incl tax Qty: Add to cart
9 Sealing ringOriginal spare parts Sealing ring Brushcutters (FS) FS 88 Stihl €10.43 incl tax Qty: Add to cart
12 Metering diaphragmOriginal spare parts Metering diaphragm Brushcutters (FS) FS 88 Stihl €27.21 incl tax Qty: Add to cart
13 End coverOriginal spare parts End cover Brushcutters (FS) FS 88 Stihl €18.43 incl tax Qty: Add to cart
14 Round head screwOriginal spare parts Round head screw Brushcutters (FS) FS 88 Stihl €15.13 incl tax Qty: Add to cart
20 Idle speed screwOriginal spare parts Idle speed screw Brushcutters (FS) FS 88 Stihl €19.67 incl tax Qty: Add to cart
25 Throttle shutterOriginal spare parts Throttle shutter Brushcutters (FS) FS 88 Stihl €11.96 incl tax Qty: Add to cart
26 Round head screwOriginal spare parts Round head screw Brushcutters (FS) FS 88 Stihl €8.30 incl tax Qty: Add to cart
27 StrainerOriginal spare parts Strainer Brushcutters (FS) FS 88 Stihl €9.03 incl tax Qty: Add to cart
28 Pump diaphragmOriginal spare parts Pump diaphragm Brushcutters (FS) FS 88 Stihl €27.21 incl tax Qty: Add to cart
Set of carburetor partsOriginal spare parts Set of carburetor parts Brushcutters (FS) FS 88 Stihl Included nr. 1, 2, 7, 9, 11, 12, 27 a 29 €55.08 incl tax Qty: Add to cart