Ignition system, Muffler HS 56 C-E

Ignition system, Muffler Hedge trimmers (HS) HS 56 C-E Stihl
Manufacturer: STIHL

When ordering original spare parts for your product Hedge trimmers (HS) HS 56 C-E of Stihl, to allow our staff to send you the correct spare parts,enter the year of the machine and, if available, its serial number in the Miscellaneous Notes field on the final page of the cart.

When ordering original spare parts for your product Hedge trimmers (HS) HS 56 C-E of Stihl, to allow our staff to send you the correct spare parts,enter the year of the machine and, if available, its serial number in the Miscellaneous Notes field on the final page of the cart.

*
*
*

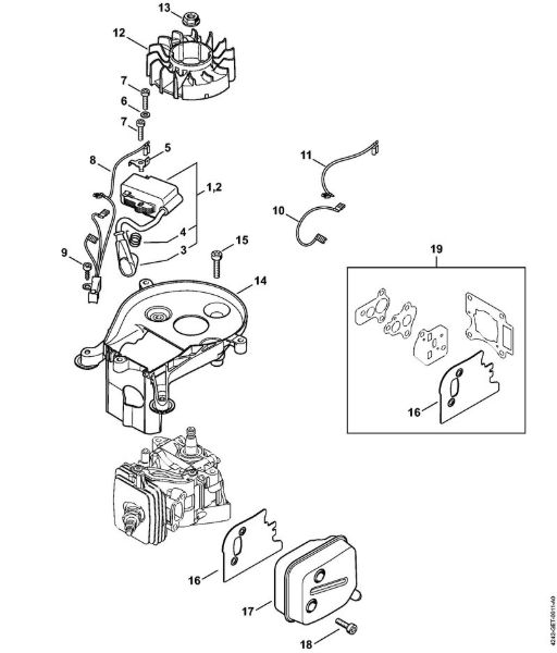
2 Ignition module

Original spare parts Ignition module Hedge trimmers (HS) HS 56 C-E Stihl Included nr. 3 and 4
€42.05 incl tax

3 Spark plug boot

Original spare parts Spark plug boot Hedge trimmers (HS) HS 56 C-E Stihl
€17.69 incl tax

4 Spark plug contact spring

Original spare parts Spark plug contact spring Hedge trimmers (HS) HS 56 C-E Stihl
€3.81 incl tax

6 Washer 4.3

Original spare parts Washer 4.3 Hedge trimmers (HS) HS 56 C-E Stihl
€0.54 incl tax

7 Pan head self-tapping screw IS-D4x18

Original spare parts Pan head self-tapping screw IS-D4x18 Hedge trimmers (HS) HS 56 C-E Stihl
€2.68 incl tax

8 Lead

Original spare parts Lead Hedge trimmers (HS) HS 56 C-E Stihl
€13.97 incl tax

9 Pan head self-tapping screw IS-P4x12

Original spare parts Pan head self-tapping screw IS-P4x12 Hedge trimmers (HS) HS 56 C-E Stihl
€2.68 incl tax

10 Lead

Original spare parts Lead Hedge trimmers (HS) HS 56 C-E Stihl
€9.22 incl tax

12 Flywheel

Original spare parts Flywheel Hedge trimmers (HS) HS 56 C-E Stihl
€85.61 incl tax

13 Collar nut M8x1

Original spare parts Collar nut M8x1 Hedge trimmers (HS) HS 56 C-E Stihl
€3.86 incl tax

14 Spiral housing

Original spare parts Spiral housing Hedge trimmers (HS) HS 56 C-E Stihl
€23.77 incl tax

15 Pan head self-tapping screw IS-D5x24

Original spare parts Pan head self-tapping screw IS-D5x24 Hedge trimmers (HS) HS 56 C-E Stihl
€3.22 incl tax

16 Muffler gasket

Original spare parts Muffler gasket Hedge trimmers (HS) HS 56 C-E Stihl
€10.34 incl tax

18 Pan head self-tapping screw IS-D5x18

Original spare parts Pan head self-tapping screw IS-D5x18 Hedge trimmers (HS) HS 56 C-E Stihl
€3.22 incl tax

19 Set of gaskets

Original spare parts Set of gaskets Hedge trimmers (HS) HS 56 C-E Stihl Included nr. 16
€29.86 incl tax