FS 55 R

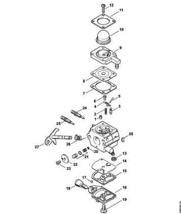
Complete diagram of original spare parts of  Brushcutters (FS), FS 55 R Stihl. In case of purchase of spare parts, indicate in the notes field (in the final phase of the cart) the year of purchase of the machine to certify the spare parts correct originals. FS 55 R Stihl in order to identify the correct original spare parts.

View as Grid List
Sort by
Display per page

Carburetor C1Q-S265 FS 55 R

Carburetor C1Q-S265 Brushcutters (FS) FS 55 R Stihl
From €3.81 incl tax

Carburetor C1Q-S44 FS 55 R

Carburetor C1Q-S44 Brushcutters (FS) FS 55 R Stihl
From €3.22 incl tax

Carburetor C1Q-S53 FS 55 R

Carburetor C1Q-S53 Brushcutters (FS) FS 55 R Stihl
From €3.22 incl tax

Crankcase, Cylinder FS 55 R

Crankcase, Cylinder Brushcutters (FS) FS 55 R Stihl
From €2.15 incl tax

Deflector (16.2014) FS 55 R

Deflector (16.2014) Brushcutters (FS) FS 55 R Stihl
From €2.68 incl tax

Fuel tank FS 55 R

Fuel tank Brushcutters (FS) FS 55 R Stihl
From €2.59 incl tax