FS 60

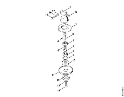
Complete diagram of original spare parts of  Brushcutters (FS), FS 60 Stihl. In case of purchase of spare parts, indicate in the notes field (in the final phase of the cart) the year of purchase of the machine to certify the spare parts correct originals. FS 60 Stihl in order to identify the correct original spare parts.

View as Grid List
Sort by
Display per page

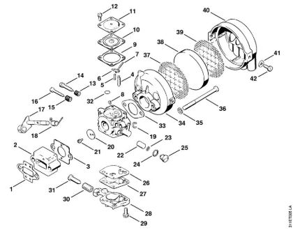
Carburetor, Air filter FS 60

Carburetor, Air filter Brushcutters (FS) FS 60 Stihl
From €0.54 incl tax

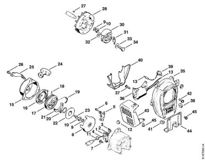
Crankcase, Cylinder FS 60

Crankcase, Cylinder Brushcutters (FS) FS 60 Stihl
From €3.27 incl tax

Deflector FS 60

Deflector Brushcutters (FS) FS 60 Stihl
From €0.83 incl tax

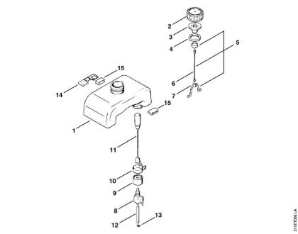
Fuel tank FS 60

Fuel tank Brushcutters (FS) FS 60 Stihl
From €2.68 incl tax

Housing (Driving) FS 60

Housing (Driving) Brushcutters (FS) FS 60 Stihl
From €0.83 incl tax

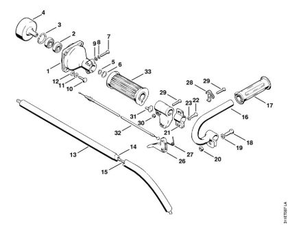
Rewind starter FS 60

Rewind starter Brushcutters (FS) FS 60 Stihl
From €2.64 incl tax

Tools, Extras FS 60

Tools, Extras Brushcutters (FS) FS 60 Stihl
From €54.30 incl tax