FS 85

Complete diagram of original spare parts of  Brushcutters (FS), FS 85 Stihl. In case of purchase of spare parts, indicate in the notes field (in the final phase of the cart) the year of purchase of the machine to certify the spare parts correct originals. FS 85 Stihl in order to identify the correct original spare parts.

View as Grid List
Sort by
Display per page

Air filter, Fuel tank FS 85

Air filter, Fuel tank Brushcutters (FS) FS 85 Stihl
From €1.07 incl tax

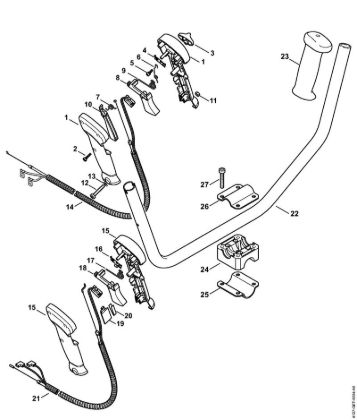
Bike handle FS 85

Bike handle Brushcutters (FS) FS 85 Stihl
From €1.12 incl tax

Bike handle FS 85

Bike handle Brushcutters (FS) FS 85 Stihl
From €1.07 incl tax

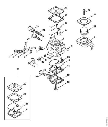
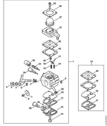
Carburetor 4137/22 FS 85

Carburetor 4137/22 Brushcutters (FS) FS 85 Stihl
From €3.22 incl tax

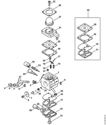
Carburetor 4137/23 BR FS 85

Carburetor 4137/23 BR Brushcutters (FS) FS 85 Stihl
From €3.22 incl tax

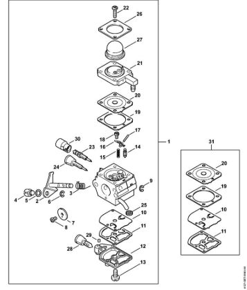
Carburetor 4137/28 FS 85

Carburetor 4137/28 Brushcutters (FS) FS 85 Stihl
From €3.22 incl tax

Carburetor 4137/29 BR FS 85

Carburetor 4137/29 BR Brushcutters (FS) FS 85 Stihl
From €3.22 incl tax

Carburetor 4137/36 FS 85

Carburetor 4137/36 Brushcutters (FS) FS 85 Stihl
From €3.22 incl tax

Carburetor 4137/37 BR FS 85

Carburetor 4137/37 BR Brushcutters (FS) FS 85 Stihl
From €3.22 incl tax