HS 86 R
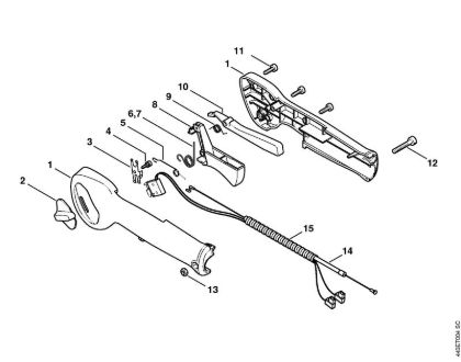
Complete diagram of original spare parts of Hedge trimmers (HS), HS 86 R Stihl. In case of purchase of spare parts, indicate in the notes field (in the final phase of the cart) the year of purchase of the machine to certify the spare parts correct originals. HS 86 R Stihl in order to identify the correct original spare parts.
Carburetor C1Q-S198, C1Q-S140 HS 86 R
Carburetor C1Q-S198, C1Q-S140 Hedge trimmers (HS) HS 86 R Stihl
From €3.22 incl tax
Carburetor C1Q-S225, -S218, -S196, -S197, -S105, -S111, -S115, -S116 HS 86 R
Carburetor C1Q-S225, -S218, -S196, -S197, -S105, -S111, -S115, -S116 Hedge trimmers (HS) HS 86 R Stihl
From €3.22 incl tax
Control handle HS 86 HS 86 R
Control handle HS 86 Hedge trimmers (HS) HS 86 R Stihl
From €1.71 incl tax
Gear head HS 81 R, 86 R HS 86 R
Gear head HS 81 R, 86 R Hedge trimmers (HS) HS 86 R Stihl
From €1.61 incl tax
Handle frame, Fuel tank HS 86 R
Handle frame, Fuel tank Hedge trimmers (HS) HS 86 R Stihl
From €2.59 incl tax
Ignition system, Clutch HS 86 R
Ignition system, Clutch Hedge trimmers (HS) HS 86 R Stihl
From €0.54 incl tax
Service tool, clutch HS 86 R
Service tool, clutch Hedge trimmers (HS) HS 86 R Stihl
From €59.73 incl tax
- 1
- 2