F12 Secateurs

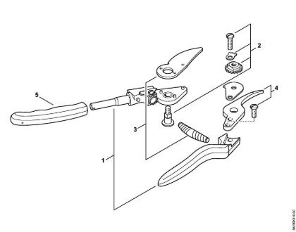
Complete diagram of original spare parts Shears, F12 Secateurs Stihl. In case of purchase of spare parts, indicate in the notes field (in the final phase of the cart) the year of purchase of the machine Stihl in order to identify the correct original spare parts.

View as Grid List
Sort by
Display per page

F12 Secateurs F12 Secateurs

F12 Secateurs Shears F12 Secateurs brand Stihl
From €20.70 incl tax