F7 Secateurs

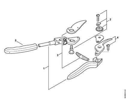
Complete diagram of original spare parts Shears, F7 Secateurs Stihl. In case of purchase of spare parts, indicate in the notes field (in the final phase of the cart) the year of purchase of the machine Stihl in order to identify the correct original spare parts.

View as Grid List
Sort by
Display per page

F7 Secateurs F7 Secateurs

F7 Secateurs Shears F7 Secateurs brand Stihl
From €20.70 incl tax