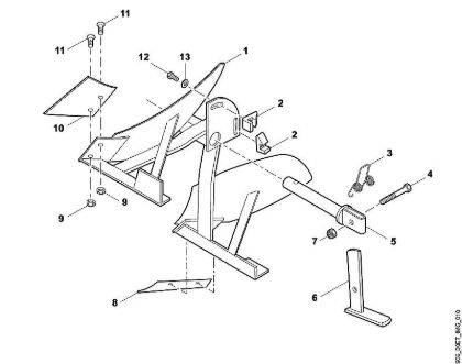
A - Quarter turn plough AWP 600
A - Quarter turn plough Accessories AWP 600 brand Viking
From €1.66 incl tax
Complete diagram of original spare parts Accessories, AWP 600 Viking. In case of purchase of spare parts, indicate in the notes field (in the final phase of the cart) the year of purchase of the machine Viking in order to identify the correct original spare parts.