Complete diagram of original spare parts MA, MA 450 Viking. In case of purchase of spare parts, indicate in the notes field (in the final phase of the cart) the year of purchase of the machine Viking in order to identify the correct original spare parts.

View as Grid List
Sort by
Display per page

A - Handle MA 450

A - Handle MA MA 450 brand Viking
From €2.29 incl tax

B - Housing MA 450

B - Housing MA MA 450 brand Viking
From €3.27 incl tax

C - Chassis MA 450

C - Chassis MA MA 450 brand Viking
From €1.07 incl tax

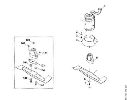
D - Engine, blade MA 450

D - Engine, blade MA MA 450 brand Viking
From €1.07 incl tax

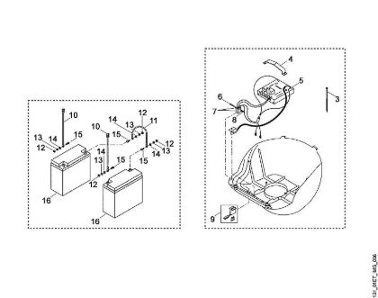
E - Electric equipment MA 450

E - Electric equipment MA MA 450 brand Viking
From €1.07 incl tax

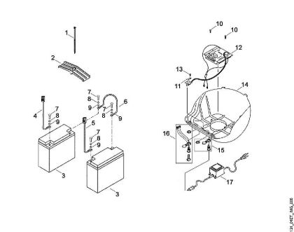
E1 - Electric equipment MA 450

E1 - Electric equipment MA MA 450 brand Viking
From €0.54 incl tax

F - Grass catcher bag MA 450

F - Grass catcher bag MA MA 450 brand Viking
From €4.83 incl tax

G - Tools MA 450

G - Tools MA MA 450 brand Viking
From €5.86 incl tax