HT 70
Complete diagram of original spare parts of Pole pruners (HT), HT 70 Stihl. In case of purchase of spare parts, indicate in the notes field (in the final phase of the cart) the year of purchase of the machine to certify the spare parts correct originals. HT 70 Stihl in order to identify the correct original spare parts.
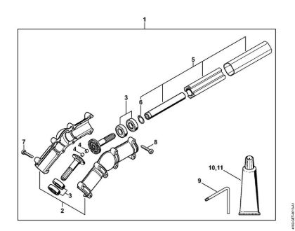
Back mounted support system RTS HT 70
Back mounted support system RTS Pole pruners (HT) HT 70 Stihl
From €1.07 incl tax
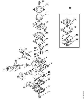
Carburetor C1Q-S157, C1Q-S69 (41.2017) (45.2009) HT 70
Carburetor C1Q-S157, C1Q-S69 (41.2017) (45.2009) Pole pruners (HT) HT 70 Stihl
From €3.22 incl tax
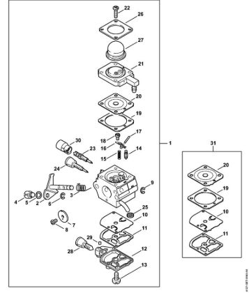
Carburetor C1Q-S28, C1Q-S41 1 42 812 153 (21.1999) HT 70
Carburetor C1Q-S28, C1Q-S41 1 42 812 153 (21.1999) Pole pruners (HT) HT 70 Stihl
From €3.22 incl tax
Carburetor C1Q-S45 1 48 792 225 (16.2001) HT 70
Carburetor C1Q-S45 1 48 792 225 (16.2001) Pole pruners (HT) HT 70 Stihl
From €3.22 incl tax
Carburetor C1Q-S56 1 48 792 225 (16.2001) HT 70
Carburetor C1Q-S56 1 48 792 225 (16.2001) Pole pruners (HT) HT 70 Stihl
From €3.22 incl tax
Carburetor C1Q-S63 (15.2003) HT 70
Carburetor C1Q-S63 (15.2003) Pole pruners (HT) HT 70 Stihl
From €3.22 incl tax