FS 450-Z

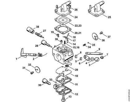
Complete diagram of original spare parts of  Clearing saws (FS), FS 450-Z Stihl. In case of purchase of spare parts, indicate in the notes field (in the final phase of the cart) the year of purchase of the machine to certify the spare parts correct originals. FS 450-Z Stihl in order to identify the correct original spare parts.

View as Grid List
Sort by
Display per page

Control handle FS 450-Z

Control handle Clearing saws (FS) FS 450-Z Stihl
From €1.07 incl tax

Crankcase, Cylinder FS 450-Z

Crankcase, Cylinder Clearing saws (FS) FS 450-Z Stihl
From €2.15 incl tax

Deflector FS 450-Z

Deflector Clearing saws (FS) FS 450-Z Stihl
From €2.68 incl tax

Drive tube assembly FS 450-Z

Drive tube assembly Clearing saws (FS) FS 450-Z Stihl
From €1.07 incl tax

Fuel tank FS 450-Z

Fuel tank Clearing saws (FS) FS 450-Z Stihl
From €2.59 incl tax

Gear head (05.2003) FS 450-Z

Gear head (05.2003) Clearing saws (FS) FS 450-Z Stihl
From €1.07 incl tax

Gear head (20.1998) FS 450-Z

Gear head (20.1998) Clearing saws (FS) FS 450-Z Stihl
From €2.15 incl tax

Gear head FS 450-Z

Gear head Clearing saws (FS) FS 450-Z Stihl
From €1.07 incl tax