FS 550-L
Complete diagram of original spare parts of Clearing saws (FS), FS 550-L Stihl. In case of purchase of spare parts, indicate in the notes field (in the final phase of the cart) the year of purchase of the machine to certify the spare parts correct originals. FS 550-L Stihl in order to identify the correct original spare parts.
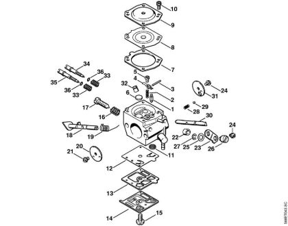
Carburetor HD-23 1 57 307 792 (29.2002) FS 550-L
Carburetor HD-23 1 57 307 792 (29.2002) Clearing saws (FS) FS 550-L Stihl
From €3.03 incl tax
Carburetor HD-31, HD-22 FS 550-L
Carburetor HD-31, HD-22 Clearing saws (FS) FS 550-L Stihl
From €3.03 incl tax
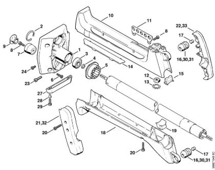
Clutch housing, AV system FS 550-L
Clutch housing, AV system Clearing saws (FS) FS 550-L Stihl
From €2.68 incl tax
Control handle 1 57 307 792 (29.2002) FS 550-L
Control handle 1 57 307 792 (29.2002) Clearing saws (FS) FS 550-L Stihl
From €1.07 incl tax
Crankcase, Cylinder FS 550-L
Crankcase, Cylinder Clearing saws (FS) FS 550-L Stihl
From €2.15 incl tax
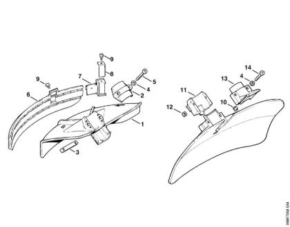
Deflector (34.1999), (33.1998) FS 550-L
Deflector (34.1999), (33.1998) Clearing saws (FS) FS 550-L Stihl
From €1.07 incl tax
Drive tube assembly FS 550-L
Drive tube assembly Clearing saws (FS) FS 550-L Stihl
From €3.81 incl tax
Gear head (29.2002), 1 48 729 574 (02.2001) FS 550-L
Gear head (29.2002), 1 48 729 574 (02.2001) Clearing saws (FS) FS 550-L Stihl
From €1.07 incl tax
Handlebar, Control handle FS 550-L
Handlebar, Control handle Clearing saws (FS) FS 550-L Stihl
From €1.07 incl tax
- 1
- 2