GH 53 TK Lawnmower
Complete diagram of the original spare parts of the Oleo-Mac Oleo-Mac . In case of purchase of spare parts, indicate in the notes field (in the final phase of the trolley) the year of purchase of the machine in order to identify the correct original spare parts.
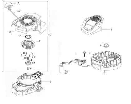
Complete illustrated parts list GH 53 TK Lawnmower
Mowers GH 53 TK Lawnmower Complete illustrated parts list Brand Oleo-Mac
From €0.63 incl tax
Control lever GH 53 TK Lawnmower
Mowers GH 53 TK Lawnmower Control lever Brand Oleo-Mac
From €1.95 incl tax
Crankcase cover GH 53 TK Lawnmower
Mowers GH 53 TK Lawnmower Crankcase cover Brand Oleo-Mac
From €2.73 incl tax
Ignition system GH 53 TK Lawnmower
Mowers GH 53 TK Lawnmower Ignition system Brand Oleo-Mac
From €2.73 incl tax
Reed valve kit GH 53 TK Lawnmower
Mowers GH 53 TK Lawnmower Reed valve kit Brand Oleo-Mac
From €4.59 incl tax
Shaft + piston GH 53 TK Lawnmower
Mowers GH 53 TK Lawnmower Shaft - piston Brand Oleo-Mac
From €3.71 incl tax